Apple files patents for flexible batteries, 3D AR effects and more
Apple has big plans for the future.
Apple recently filed patents that will upgrade the Pencil, but now few fresh patents have surfaced that gives us a peek into what Apple is working on. The patents show flexible batteries and creating 3D effects on 2D display, reports DigitalTrends.
Flexible batteries
The first patent shows a concept flexible battery that can extend the battery life of the iPhones. It has been shaped better to cram into the device and will move according to the movement of the components inside the handset. The patent suggests that the batteries are made of cells placed along a flexible substrate, enabling the battery to move accordingly.
It will be interesting to see how Apple takes this design forward. It can be used for standard iPhones to offer a battery life. But this also indicates a possibility of a flexible device altogether.
Showing you around
There must have been instances where you arrive at your destination only to find that the front door is locked, and you have no clue if there's another door to the building. That's something Apple wants to fix with its new patent.
While many services such as Google Maps are restricted to streets and roads, they are working on mapping indoors as well. Company's latest patent includes the ability to map entry and exit points of a particular place.
The patent also notes that positioning can be done using tools such as GPS, accelerometer, pedometer and others.

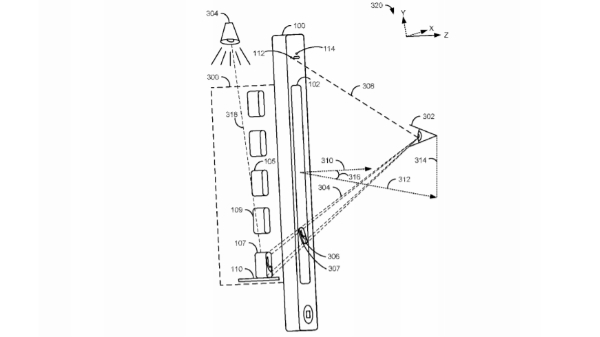
3D effects on display
Apple has been long rumored to be working on devices such as augmented reality headsets, but now it seems the company also wants to make 3D effects more engaging for people with iPhones. The patent suggests, in order to create a 3D effect on the screen, the device will track user's head - which might be done using the FaceID tech already seen on the iPhone X.
Using the positioning, the device can alter what the display is projecting to make an object appear 3D. This will also upgrade the ARKit for the developers to create new AR-based apps.
Apple is also reportedly working on a potential replacement for Apple's flag bearer - the iPhone. The long-rumored augmented reality glasses are said to be works in Cupertino. Apple is yet to unveil a standalone AR device in the market, but several reports indicate otherwise.


Click it and Unblock the Notifications







