Latest Apple patent hints at edge-to-edge OLED display for future iPhones
This Apple patent seems interesting.
Rumors and speculations surrounding the upcoming smartphones and features are nothing new in the tech world. And, Apple is no stranger to such rumors. The company is long rumored to introduce an iPhone with an edge-to-edge OLED display and this doesn't seem to be far-fetched now.

Back in February 2015, Apple had filed a patent for an edge-to-edge OLED display that stirred speculations that an iPhone with such a screen might be launched in the future. Now the US Patent and Trademark Office has granted the patent to Apple. The smartphone manufacturers are said to come up with the bezel-less design in numerous ways and this could be one way that the same might happen.
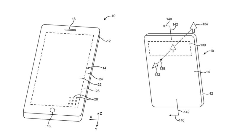
The patent filed by Apple for "electronic devices having displays with openings" describes a device with openings that will allow mounting electronic components including light sensors, cameras, speakers, etc. behind the display. The display will have openings that will allow information from the components to be transmitted.
The openings seem to be small enough to be invisible to the human eye letting the components to hide behind the display. This way, the phone might appear to be a giant screen without any components on the bezels making it an edge-to-edge display.
The granted patent also lets inbuilt heads-up display HUD that go in line with some of the rumored plans that Apple seems to have for the augmented reality space.
Nevertheless, like all patents that are filed and granted approval by USPTO, there is no assurance that Apple will implement this edge-to-edge OLED display on a product. Until the same sees the light of the day, we shouldn't believe to see the launch of an all-glass edge-to-edge iPhone.


Click it and Unblock the Notifications







