Apple's Patent Application Hints at Waterproof iPhone 7
Apple's patent application to the US Patent and Trademark Office has revealed that Apple could use waterproof technology in the future for its iPhone's. The patent indicates that the iPhone's will have an external headphone ports and charging cords with special self healing rubber materials.
SEE ALSO: Apple iPad Pro launched in India Starting from Rs 67,900
The patent application was posted on the US patent and Trademark Office website on December 10 after it was originally filed by Apple on June 9th 2014. This is also a hint as to where the company is headed when it comes to its future phones.

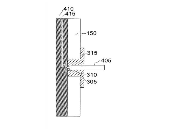
The application describes the innovation as a "self-healing elastomer applied over one or more external electronic connectors," which would protect internal electronic connectors used to plug in external headphones or charging cords.
SEE ALSO: Lenovo Vibe X3 Lite released in China, may launch globally
Smartphone brands mostly belonging to he Android brigade have com up with rugged phones as well as waterproof phones, but till now Apple's iPhone's did not posses any such feature.
Reports and rumors have been heavy speculating about the iPhone 7. Several such rumors suggest that the iPhone 7 will have a 3.5mm headphone jack on the iPhone 7 and this will have a thinner lightning connector or Bluetooth to make the phones even thinner. The recent patent could be helpful for iPhone's and protect them from any type of harsh conditions.
Apple also recently released its Apple 6S smart battery case that promises a battery life od 18-25 hours for the iPhone 6S. However, the battery case has been received with criticism from apple users and critics alike.


Click it and Unblock the Notifications








