Samsung Shown Green Light for Force-Sensitive Touchscreen Display Patent
It's been a while since numerous patents related to futuristic Samsung devices have been making rounds on the web, showing off a number of different technologies the company is currently working with.
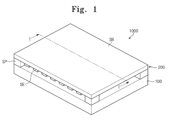
Similarly, keeping up with the trend in leaked patent and rumored technologies, according to reports, Samsung has just received a new patent for a certain "touch display apparatus sensing touch force".

The South Korean manufacturer states that although such force-sensing touchscreens already exist, most of them usually require a separate force-sensitive sensor, which needlessly increases the production costs of the display.
Revealed directly via the US Patent and Trademark Office (USPTO), the company is looking toward an alternate way to decrease production costs. And that the company hopes to achieve by building a force-sensing processor that will be incorporated into the display, instead of building a separate sensor that would detect applied force on a touchscreen.
Going by the report discussing the same, the force-sensing processor will include an electrode resistor and a reference resistor, and that both will be connected to several very thin layers of piezoresistive materials (either graphene or carbon nanotube), which will have different resistances and will be placed inside the display.
And as far as user interface with the technology is concerned, once the user presses his or her finger against the display, these layers will send feedback about the duration of the touch input. This, in turn, will determine whether it was a soft or hard touch (otherwise called a tap or long-press), hence obliterating the need for a separate dedicated sensor.
However, as always, there's no surety that the technology will indeed be incorporated in future Samsung devices any time soon. However, going by the fact that it's an effective way to reduce the overall cost of manufacturing, Samsung might be enticed to introduce the technology in its upcoming flagships.


Click it and Unblock the Notifications