Top 10 Best Upcoming Rumored Smart Watches Expected to Launch in 2015
As we can see 2015 is the year of smartwatches, many rumors have also surface about how these gadgets are shaping our lives. These smartwatches will not only provide the time but it will also guide you on how to stay fit, check emails, sms and other notifications. Some smartwatches even have games installed in them which makes things even more interesting.
Recommended: Top 10 Upcoming Rumored Smartphones Expected To Launch in 2015
Talking about these rumored smartwatches, we can see that these watches have remarkable features and can do wonders in a person life. But, the question remains when and where will these smartwatches get launched?
Here is the list of top best rumored upcoming smartwaches. Do have a look and stay tune to GizBot for more updates!
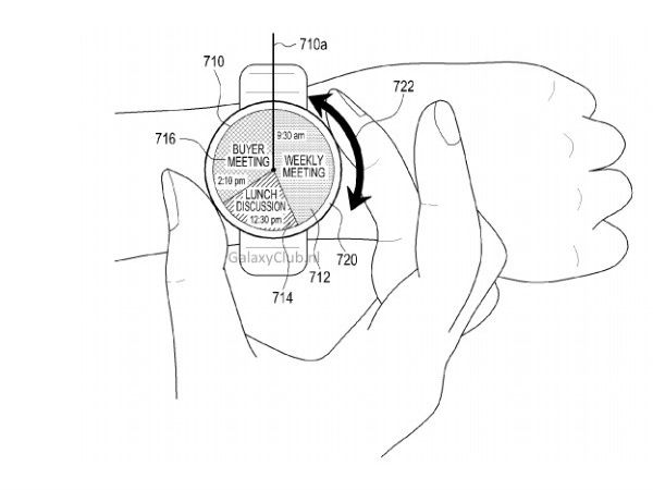
Samsung 'Orbis' Tizen
According to Sammobile, which reports Samsung rumors, has claimed that this smartwatch will support wireless charging out of the box. This concept was adopted by Motorola for its Moto 360 smartwatch. Moreover, if the rumors turns out to be true it will feature a crown-shaped power button and a rotating bezel ring on top.
Also Samsung will be providing an SDK for developers so they can build more features around the ring. On the power button, Orbis offers functions like waking up the screen, launching S Voice (through a double press), and sending an emergency message. Also it is possible the crown will have few other functions, but most of the advanced stuff will be handled by that bezel ring.
Apple Watch
The Apple watch has got a squarish screen and it will be coming in three distinct collection and two different sizes. The three editions are Apple Watch, Apple Watch Sport and Apple Watch Edition. Apple Watch Edition is plated with 18 carat gold. Apple claims the watch is extremely customizable and perfectly apt for fitness junkies. The glass on the top uses tough sapphire glass, while the display is a flexible retina panel.
Sony FES Watch
Recently, it was reported that Japanese start-up company Fashion Entertainments had developed a watch with an e-ink face. The FES Watch uses thin electronic paper, which is light and bendable in nature. There's no word yet when the start-up company would start shipping the watch. The FES Watch comes with an e-ink strap which can change its design, similar to Sony's forthcoming watch.
AsusZenWatch 2
The Asus ZenWatch 2 will boast a seven day battery life, according to the company's chairman Jonney Shih.
The Asus ZenWatch 2 looks like going head-to-head with the Samsung Gear S, with CEO Jerry Shen confirming back in December that a standalone smartwatch will arrive in Q3 2015, alongside two other new Asus wearables.
LG G Watch R2
The new wearable watch is expected to be showcased at the annual Mobile Developers Conference (MWC) in February. Furthermore, rumors suggest that the G Watch R2 could possibly come with the similar specifications as the current model; however, the difference between the two could be the connectivity difference. The current-generation G Watch R support 3G and Wi-Fi connection, but offers no calling function.
Again, we don't have much information on the G Watch R2, but it's interesting to see how 4G LTE connectivity makes such as small sized wearable useful. The LG G Watch R was first unveiled at this year's IFA Berlin tech show.
Microsoft smartwatch
However, Microsoft wouldn't make a smartwatch, a device capable of making calls like the the Gear S from Samsung. The company is said to keep its focus only in the health element and if earlier reports are to be banked upon, than you can expect the device to resemble Gear Fit largely.
Thus, you can already imagine the presence of health tracking hardwares like the heart rate monitor, pedometer, and sleep tracking. Another unconventional yet new gossip about the Microsoft smartwatch is that it is said to be worn with the screen at the inwards-side of your wrist.
Motorola Moto 360 2
Motorola has had a banner year and no device exemplifies the company's rise back into the big leagues better than the Moto 360 smartwatch.
According to Redroid, Mishin revealed during a recent Q&A what the second-generation Moto 360 would offer. We're unsurprised to hear that the Moto 360 2 will feature a "modified design" and that it'll be "more beautiful and more like a clock".
HTC smartwatch
Now, according to a new report, HTC is still working on a wearable device and plans to release it sometime in early 2015. It is learnt that the HTC-crafted watch will stand out in the crowd, though inside details have been negligible so far.
Furthermore, the watch will be powered by Google's Android Wear platform. Recently, HTC has sent out invitations to an event on Oct.8 in New York, where the company is expected to launch a new flagship device. But the company won't discuss anything related to its upcoming smart watch at an event scheduled on October 8.
Huawei Android Wear watch
Now, China's Huawei has sparked rumors of jumping into intelligent watch business. Huawei, the world's third largest smartphone maker, plans to unveil an Android Wear-powered smartwatch in 2015, reports Engadget.
Kronoz
Kronoz is a Swiss smartwatch startup with a selection of watches on their with ZeWatch 2 leading the pack.
- The ZeWatch2 is a Bluetooth connected wrist-worn device that tracks activity
- delivers notifications
- And offers an integrated speaker
- It will notify you when you have an incoming call and allow you to answer it.
- As well as let you read your messages and other alerts
- with each appearing on the screen along with a vibrating alert.
Recommended: Top 10 Upcoming Mid-range Smartphones Expected to Launch in 2015


Click it and Unblock the Notifications








