Samsung is Working on Round Smartwatch: Coming to MWC 2015 with Wireless Charging
One of the hot topic over recent days is obviously the smartwatch. Within few months the releases of smartwatches has been doubled and improved. With smartwatches, we can run apps, get email, message notification, play back all digital media and some will allow you to access compass, thermometer and more.
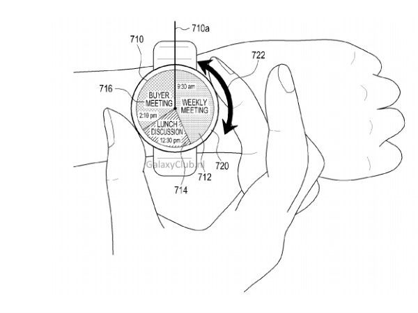
After the not so successful Samsung Gear, the reports suggests that, the South Korean company is planning to unveil a smartwatch in MWC this year. Dubbed as Orbis, Samsung is revamping the design with whole new circular body and as per the source, it will not run on Android wear.
Click Here For The Latest Gadget Gallery

Recommended: GizBot Guide: 10 Things You Need To Do After Buying A New Android Smartphones
According to Sammobile, which reports Samsung rumors, has claimed that this smartwatch will support wireless charging out of the box. This concept was adopted by Motorola for its Moto 360 smartwatch. Moreover, if the rumors turns out to be true it will feature a crown-shaped power button and a rotating bezel ring on top.

Also Samsung will be providing an SDK for developers so they can build more features around the ring. On the power button, Orbis offers functions like waking up the screen, launching S Voice (through a double press), and sending an emergency message. Also it is possible the crown will have few other functions, but most of the advanced stuff will be handled by that bezel ring.

So what's your opinion on Orbis ? Are you interested in buying it ?
Stay tuned to GizBot for more updates!


Click it and Unblock the Notifications