LG patents a smart stylus that might replace your smartphone in future
LG’s new patent shows a smart pen that incorporates two flexible displays with the ability to run apps
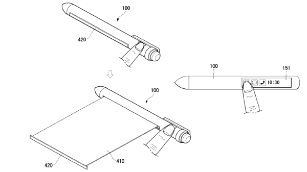
A patent filed by LG has emerged online which shows an interesting smart pen capable of operating in different modes. The smart pen incorporates LG's highly acclaimed roll-able display that comes out by pressing a dedicated button and allows you to use the smart pen as a hybrid device. It is by far the most interesting and innovative use case of a stylus we have seen in a while.

As per the patent, the smart pen, or as LG calls it- the electronic device has an elongated housing, a tip coupled to one end of the housing, a motion sensor, and a control unit to enable dual mode functionality of the smart pen for various use cases. The mode switching is performed when the user's operation acquired through the motion sensor corresponds to a preset operation. What this means is that the smart electronic pen can store memory and respond as per the user's commands. The motion sensor may include an optical sensor for measuring a motion or trajectory of the tip through a laser.

The smart pen patent talks about two displays. One display will be provided to the outer surface of the housing and can show the functions of the electronic device. Interestingly, the patent talks about the voice call function, which suggests that the smart pen can also be used to make or receive calls. The second display might be rolled and placed in the elongated housing and comes out when a dedicated button is pressed. The flexible display can make it possible to use the smart pen as a conventional smartphone when needed. The display can be used to browse information on the internet and will also make it possible to run all the regular apps that we use today on our smartphones.

Besides, the patent also suggests that the smart pen may also incorporate a retina scanner, fingerprint scanner, a sensor to sense user's grip and even a camera module. Besides, LG can also incorporate a microphone in the elongated housing of the smart electronic device. Moreover, the patent also talks about the incorporation of a wireless antenna that can be used to transmit data wirelessly. And last but not the least; the pen can be paired with other displays (mobile phones, tablets, etc.) to use them as a surface to jot down notes. Isn't it the best thing came out in a while for technology enthusiasts!
Overall, the smart pen in the discussion has the ability to replace the smartphones of today in the most bizarre and interesting form factor. If LG manages to engineer the smart pen if ever see the light of the day can forever change the way we use our productivity driven smartphones. We now just can't wait to see the concept design and 3D renders of the patented smart pen, which can be the next big thing in the world of mobile technology.


Click it and Unblock the Notifications