Apple's New Patient Suggest 3D Gesture Control Coming to iDevices
Apple Inc has been granted several new patents including some related to 3D recognition technology, according to a new report by PatentlyApple.

In an official publication by the US Patent and Trademark Office on Tuesday, Apple was granted 41 patents, majorly consisting of next-generation technology.
Recommended Link: Google's Android Wear Companion App For iPhone In Final Stages: Report
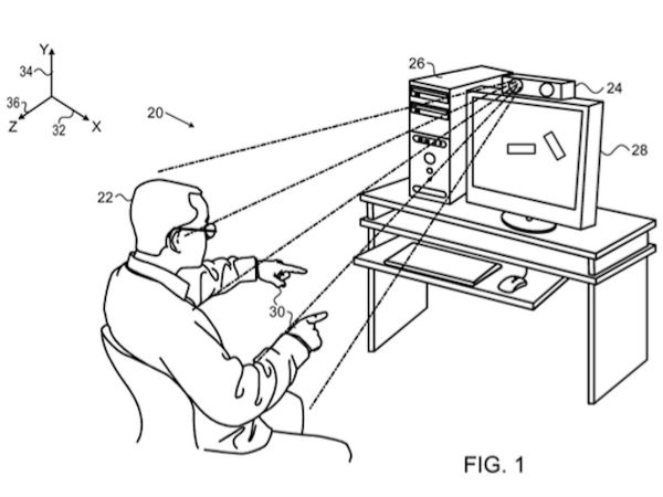
One of these patents, which we believe is soon to be implemented in Apple devices, was under the name "Learning-Based Estimation of Hand and Finger Pose."
If this invention sounds somewhat familiar, that's because Apple's patent is one of many obtained in a $350 million acquisition deal in November 2013 for Primesense, a 3D sensing technology company based in Tel Aviv. Primesense was the same company behind the Microsoft Kinect, released for the Xbox 360 in 2010.

On most of Apple's devices, users can control just about any aspect of them with a tap on a screen or a swipe of a touchpad. But in the future, users may be able to do the same with a wave of a hand or other hand gestures. A newly revealed invention by the company shows how that could become reality.
Recommended Link: Apple Attracts More Customers For Watch With Primetime TV Offer
The patent, filed in March 6, 2013, credits former Primesense engineers Shai Litvak, Leonid Brailovsky and Tomer Yanir for the invention.


Click it and Unblock the Notifications