Apple Patents Foldable iPhone Design; How Practical Is It?
Apple is gearing up for dual launch events this year. Apart from the expected iPhone 9 and the iPhone 12 lineup, Apple is also patenting distinct designs for the iPhone. A new report reveals that Apple's new patent is for a foldable iPhone, a game-changing move from the company.
Apple Foldable Phone
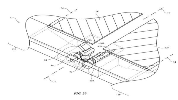
The patent design reveals that the display can fold without a crease and even potentially use glass rather than plastic. Apple's secret lies in the new hinge mechanism, where the middle of the display can bow outwards before folding over. This mechanism creates a softer bend on the phone's inside, while also maintaining the structural integrity.
At the same time, the hinge design prevents a crease. Apple can also use less flexible glass panels with this design as the softer bend will likely result in less pressure being applied at the point of the curve.
The hinge plays a crucial role in foldable smartphones, a trend that booming among smartphone makers. The new design is a radical improvement in comparison to the fragile folding smartphone displays we've seen so far.
Apple Patents
Apple is famed for its secrecy. But when it comes to foldable smartphones, other players have already rolled out their foldable devices. It looks like Apple won't be far behind and might soon join the trend, assuring fans and investors.
Apple has filed multiple patents related to the iPhone design and particularly about the folding iPhone. Earlier patents include the flexible control circuitry, advanced techniques to bend the glass displays, flexible chassis, and more.
Although the patent reveals quite many details about the design, it's unlikely that the foldable iPhone will launch in 2020. But it could be expected in 2021. Around that time, Android foldable devices will already be entering their third-generation. Apple might make a fashionably late entry to the foldable devices, but it remains to see how well it'll do.


Click it and Unblock the Notifications










