Apple Patents Autonomous Car Technology: What To Expect
Autonomous cars are riding high and many companies are pitching in to be part of the self-driving race. Apple, commonly associated with iPhone and MacBook has also been developing its autonomous car technology. But it had been largely silent about it, till now. Recently, the company patented its self-driving elements.
Apple Autonomous Car Technology
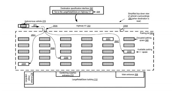
Apple is envisioning autonomous car technology where the commands are voiced out or expressed through gestures and touch. The Apple patent published last week presents a future self-driving automobile that is integrated and operated through interactions.
The newly published patent gives us a hint on how such a system would work with an autonomous car. There are three ways of passenger interaction for the autonomous car revealed in the patent, which is touch, gestures, and voice. The interaction mechanism is similar to what Apple offers on its devices.
For instance, if the user gives a voice command saying "I'd like some coffee", the autonomous car would drive to the nearest cafe. Further specific application command would be like "Let's go to my favorite coffee shop on Main Street". The patent further notes that varied voice commands can create different trips, but the ultimate control will be the user only.
Apple Patents Gesture Controls For Cars
Following next is gesture controls, which requires a smartphone. For instance, the user would command ‘park over there' and motion the smartphone towards a spot. The autonomous car system would analyze the spot and move the car in the same direction. However, this command and gesture control requires a lot of processing and machine learning for accurate results.
The Apple autonomous car technology would present a large touchscreen interface with iOS, which the patent describes as a basic touch interface. The touch and gesture interface would have predictive features to inform the vehicle about the direction you wish to go.
There’s More
For example, the user can input where he wishes to go on the screen. The screen will also have a secondary area where the passenger can mention where he wishes to park. With Apple Maps integration, nearby places to park, dine, or other such history-dependent selections can be accessed.
There's more. Apple also talks about a digital joystick and guide it towards the place you wish to park. In any case, the autonomous function stops working, the digital joystick could be the safe option to bring the automobile to stop.
Of course, the above-mentioned features come with the usual disclaimer and can't be concluded as the real evidence. But from the looks of it, a lot of the patented elements highlight Apple's autonomous driving technology.


Click it and Unblock the Notifications








