Next-Gen Apple Pencil Patent Surfaces Online
Apple might massively upgrade the next generation of the stylus. The internet is buzzing with the latest patent surfaced from the US Patent and Trademark Office. One can expect some enhanced features on the next-gen Apple Pencil, like support for more gestures, AppleInsider reported. The patent showcases a flexible stylus with some advanced features.
Next-Gen Apple Pencil: What to Expect
Reports note that the patented Apple Pencil can support more gestures, moving beyond the double-tap input offered in the 2nd generation Apple Pencil. According to the patent, the new device is a stylus comprising "a flexible touch sensor positioned about the classic insert; and a housing positioned about the flexible touch sensor..."
Further, the patent notes that the elastic insert is placed "between the support member and the flexible touch sensor and biases the flexible touch sensor radially outwardly against the housing." the stylus can distinguish between tactile inputs from a user and disregard sustained tactile inputs, even with the user's natural grip location.
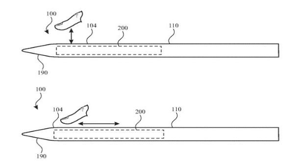
In other words, the new Apple Pencil patent features a flexible, touch-sensitive area that can recognize gestures depending upon the fingertip placement. But that's not all. The next-gen Apple Pencil packs a camera and additional sensors embedded inside. The stylus can record different types of surfaces with the camera and then showcase them on the iPad while drawing.
The patent also claims that the upgraded Apple device can include fingerprint sensors, which can be used to unlock a device. Moreover, the fingerprint sensors can also be adopted as biometric verification for Apple Pay.
Previously, an Apple patent filed in 2019 highlighted how the stylus could stimulate the feel of drawing on paper adopting haptic feedback. Like all other stylus, the Apple Pencil can be used to write on the screen, navigate the device, take notes, and so on. The new patent shows that it can do much more. The last upgraded Apple Pencil rolled out in 2018; we might see the new one soon.


Click it and Unblock the Notifications