Microsoft's new hinge patent hints at foldable smartphones
Exciting news for Microsoft fanatics.
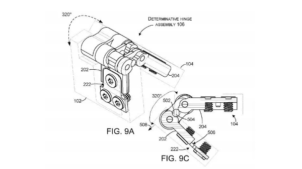
Microsoft seems to be prepping up to build a foldable smartphone. According to a new patent application filed by the company shows some cleverly articulated screens hinting towards a foldable smartphone.

This also means that the company isn't done making phones. Rumors about a Surface Phone have been doing rounds for years, and recently Microsoft got the full Windows 10 OS working on smartphone-like chips again.
The difference
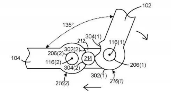
Microsoft's hinge patent could solve one of the biggest issues with dual-screen tablets and phones i.e. the huge gap between the screens when laying them flat.
Earlier, devices had to leave the gap between the screens to keep them from being damaged when folded, but not Microsoft's new concept. The screen flexes slightly as a user opens and closes the screen, pushing the two screens slightly apart preventing them from damage.
Implementation
This goes without saying, but there's no certainty that this design will come to life, or that it will be used for smartphones. The company could very well use it for larger laptops or tablets if it ever plans to deploy it.
The patent was first spotted by Twitter user WalkingCat and reported by MSPowerUser. Microsoft is yet to give its word regarding the matter.
Software front
Besides, Microsoft also has big plans for the software front. The company has started testing a new feature that makes Windows 10 an operating system without password.
The new system relies on the Authenticator app available on Android and iOS to make passwords look outdated. It is currently available for users in the Fast ring and the ones running Windows 10S. The authenticator app allows users to authorize or block any request, and the company says that passwords will be completely removed from the operating system.
Expected roll-out
A password-less experience will be easy and will allow users to take advantage of the out-of-the-box experience. Users just have to configure Windows Hello and also the app to authenticate the user. After this, you will no longer need the password to use the operating system.
The company has only released this new feature for Windows 10 S users because the system needs to be tested thoroughly before rolling out for mass consumption. Microsoft will first collect feedback from a limited number of users, and depending on the response of the users, the feature will further be rolled out for everyone.


Click it and Unblock the Notifications








